Alicates de corte oblicuo a 45° ERGO™ | 4239
- Mangos ERGO™ bi-componentes: superficie termoplástica sobre polipropileno resistente para ofrecer un agarre superior
- Aptos para cortar Cu
- Alicates de corte oblicuo compactos diseñados según los procesos científicos ERGO™
- Corte a nivel
- Aleación de acero de alto rendimiento
- Acabado fosfatado con tratamiento anticorrosión
- El rectificado CNC garantiza la precisión angular de los filos
- Para mecánica de precisión, telecomunicaciones y electrónica
- Muelle de retorno integrado
Proveedor:
SNA EUROPE (BAHCO)
Referencias
Listado de artículos
| Artículo |
PVR |
Variante |
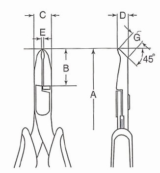
Longitud, mm A |
Longitud de la cabeza |
Anchura de cabeza mm |
Grosor de la cabeza mm |
Longitud del cabezal de corte mm |
Capacidad de corte, Cu mm |
Tipo de filo para alicate |
Anchura de la mordaza |
Anchura de la punta mm |
EAN-13 |
 |
| 4239 | - | 4239 | 129 mm | 20 mm | 9 mm | 6,9 mm | 6,07 mm | 0.3-1.0 mm | Flush | 3 mm | 1.5 mm | 7314150100088 | 1 |