Llaves ajustables "inglesas" de gran apertura con acabado fosfatado | 31
- Aptas para tubos
- Un extremo equipado con una mordaza «de cocodrilo» para aflojar y trabajar con pernos, tuercas y otros objetos redondeados con la misma fuerza en ambos sentidos
- Mordaza «de tiburón» ajustable en un extremo y mordaza de tubos dentada en el otro para accesorios de tubos
- Apertura de mordaza extraancha con un mango más corto que una llave convencional para mejorar la accesibilidad al trabajar en espacios reducidos
- La cabeza combina un diseño fino que favorece la accesibilidad y un robusto desempeño
- En paralelo con un ángulo de 15°, las mordazas ofrecen un agarre firme y el mejor alcance
- Escala láser en mm para prefijar y realizar mediciones precisas
- Resistencia superior gracias al acero de aleación de alto rendimiento y el endurecimiento de precisión
- Acabado fosfatado, endurecido con precisión y con tratamiento anticorrosión
- Tornillo a izquierdas
- Normas: ISO 6787, DIN 3117, ASME B107.8-2003 y BS 6333
- IP: Embalaje industrial
- Mordazas de apertura extraancha y mordaza de cola de pescado de agarre rápido
- Cabeza angulada de 15°
- Acero aleado de alto rendimiento forjado en una única pieza
Proveedor:
SNA EUROPE (BAHCO)
Referencias
Listado de artículos
| Artículo |
PVR |
Variante |
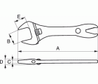
Altura de la mordaza |
Longitud pulg |
Apertura máxima |
Grosor de las mordazas |
Grosor de la cabeza mm |
Longitud, mm A |
EAN-13 |
 |
| 31 | - | 31 | 29 mm | 8 in | 32 mm | 7,05 mm | 12,8 mm | 209 mm | 7314150004942 | 1 |
| 31 IP | - | 31 IP | 29 mm | 8 in | 32 mm | 7,05 mm | 12,8 mm | 209 mm | 7314150004959 | 1 |